衛生委員会とは
労働安全衛生法に基づき、一定の基準に該当する事業場では、安全委員会・
衛生委員会(又は両委員会を統合した安全衛生委員会)を毎月一回以上設置しなければならないこととなっております。
開催の都度、委員会の意見及び講じた措置の内容並びに委員会における議事で重要なものに係る事項を記録し、議事の概要を労働者に周知することが必要です。
また、委員会の議事録は3年間の保管義務がございます。
議事録の作成
STEP1. 新規作成
左側メニューの「衛生委員会」を使用します。
「新規作成」より議事録の作成へ進みます。
STEP2.日時・タイトルを記入し、公開範囲の選択
日時は24時間制・すべて半角にて入力をお願いします。
公開範囲は下記3つよりお選びいただけます。
●管理者
●管理者・産業医
●管理者・産業医・従業員(※)
※クーポンコードをご登録いただいている従業員が公開範囲の対象となります
使用したファイルを添付することも可能です。
「ファイルを選択」の箇所より必要なファイルをお選びください。
STEP3. 保存
入力が完了しましたら、「保存」を押下して下さい。
選択している公開範囲が管理者以外を含む場合、下記のような注意表示がされますので問題なければ「公開する」を押下して下さい。
※作成した議事録は記録保持のために削除が出来かねますのでご注意ください
削除をご希望の場合は、事務局までご連絡をお願いします
※ご登録いただいた議事録に事業所ごとの閲覧制限はございません
公開した議事録は全事業所の担当医師・従業員へ公開されます
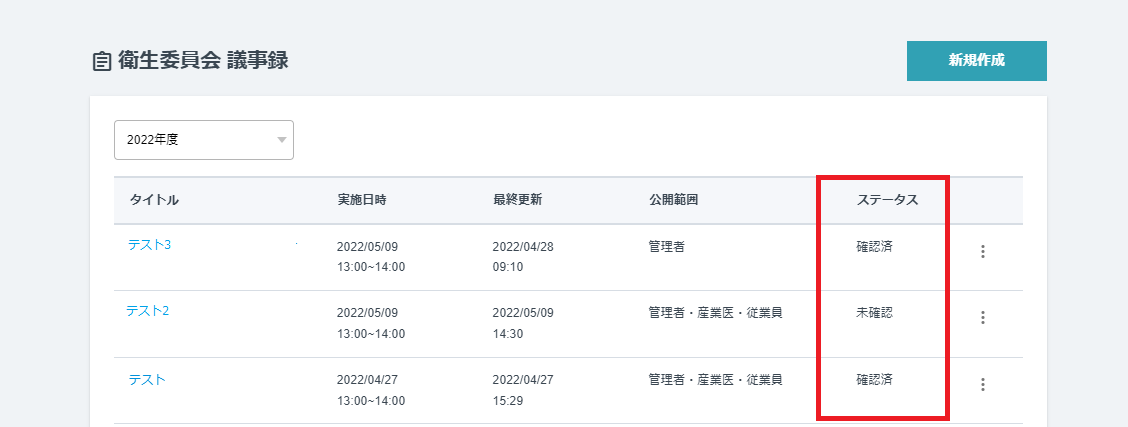
STEP4. ステータスの確認
産業医の確認のステータスをご確認いただけます。
●未確認→産業医確認前の段階でございます。
●確認済→産業医確認済みの議事録となります。
ステータスが未確認の状況でも、公開範囲に影響はありません。
また、産業医側で議事録の編集は出来かねます。
STEP5.完成
従業員画面からの確認方法はこちらをご覧ください。
議事録の印刷
タイトルの右端の箇所を押下いただくと、メニューが表示されます。
”印刷”を選択いただくと議事録の印刷が可能です。
